Bài 15 trang 53 SGK Hình học 12 Nâng cao

Mặt phẳng đi qua trục của một hình trụ, cắt hình trụ theo thiết diện là hình vuông cạnh 2R.

Đề bài

Mặt phẳng đi qua trục của một hình trụ, cắt hình trụ theo thiết diện là hình vuông cạnh \(2R\).

a) Tính diện tích xung quanh và diện tích toàn phần của hình trụ.

b) Tính thể tích của khối trụ.

c) Tính thể tích của khối lăng trụ tứ giác đều nội tiếp hình trụ.

Lời giải chi tiết

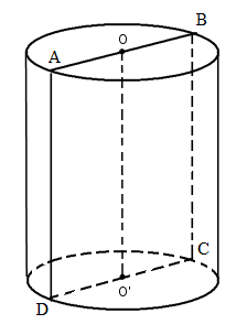
Mặt phẳng đi qua \(OO’\) của hình trụ, cắt hình trụ theo thiết diện là hình vuông \(ABCD\) cạnh \(2R\), do đó bán kính đáy bằng \(R\) và đường sinh \(AD = 2R\).

a) Ta có: 

\(\eqalign{
& {S_{xq}} = 2\pi .R.2R = 4\pi {R^2} \cr 
& {S_{tp}} = {S_{xq}} + 2{S_{day}} \cr &= 4\pi {R^2} + 2\pi {R^2} = 6\pi {R^2} \cr} \)

b) Thể tích của khối trụ là \(V = \pi {R^2}.2R = 2\pi {R^3}\).

c) Hình lăng trụ tứ giác đều nội tiếp hình trụ cạnh bên bằng \(2R\)

Đáy lăng trụ là hình vuông có đường chéo AC=BD=2R như hình vẽ.

Khi đó OA=OB=R nên \(AB=R\sqrt 2 \)

Thể tích lăng trụ tứ giác đều là \({V_{LT}} = (R\sqrt 2)^2.2R = 4{R^3}\).

Webgiaibaitap.com

TẢI APP ĐỂ XEM OFFLINE

GIẢI TÍCH – TOÁN 12 NÂNG CAO