3. Đề thi học kì 1 – Đề số 2

Đề bài

I. Trắc nghiệm
Chọn đáp án đúng
Câu 1 :

Tính chất nào sau đây không phải là tính chất vật lí của sulfur

  • A.
    Màu vàng ở điều kiện thường
  • B.
    Thể rắn ở điều kiện thường
  • C.
    Không tan trong benzen
  • D.
    Không tan trong nước
Câu 2 :

Phát biểu nào sau đây không đúng?

  • A.
    Lưu huỳnh là một nguyên tố phi kim, chỉ có tính oxi hóa
  • B.
    Khi tham gia phản ứng, lưu huỳnh thể hiện tính oxi hóa hoặc tính khử
  • C.
    Ở điều kiện thường, lưu huỳnh là chất rắn, màu vàng, không tan trong nước
  • D.
    Ở điều kiện thương, lưu huỳnh tồn tại dạng phân tử tám nguyên tử (S8)
Câu 3 :

Cho các phản ứng hóa học sau:

Số phản ứng trong đó S thể hiện tính khử là:

  • A.
    2
  • B.
    3
  • C.
    1
  • D.
    4
Câu 4 :

Sulfuric acid đặc thể hiện tính chất nào khi lấy nước từ hợp chất carbohydrate và khiến chúng hóa đen?

  • A.
    Tính acid
  • B.
    Tính base
  • C.
    Tính háo nước
  • D.
    Tính dễ tan
Câu 5 :

Hóa học hữu cơ nghiên cứu

  • A.
    Tất cả những hợp chất trong thành phần có chứa carbon
  • B.
    Đa số các hợp chất của carbon và dẫn xuất của chúng
  • C.
    Các hợp chất trong thành phần của cơ thể sống
  • D.
    Phản ứng hóa học xảy ra trong cơ thể
Câu 6 :

Trong các hợp chất sau: C2H4, C2H5COOH, CaC2, CO, C2H5OH, C3H7Cl. Dãy gồm các chất hữu cơ là:

  • A.
    C2H4, CaC2, C2H5OH, C3H7Cl
  • B.
    C2H4, C2H5COOH, C2H5OH, C3H7Cl
  • C.
    CaC2, CO, C3H7Cl, C2H4
  • D.
    C2H4, C2H5COOH, CaC2, CO
Câu 7 :

Trên phổ hồng ngoại của hợp chất hữu cơ X có các hấp thụ đặc trưng ở 2 817 cm−1 và 1 731 cm−1. Chất X là chất nào trong các chất dưới đây?

  • A.
    CH3C(O)CH2CH3.           
  • B.
    CH2=CHCH2CH2OH.
  • C.
    CH3CH2CH2CHO.          
  • D.
    CH3CH=CHCH2OH.
Câu 8 :

Các hợp chất hữu cơ thường có

  • A.
    nhiệt độ nóng chảy, nhiệt độ sôi cao, không tan hoặc ít tan trong nước, tan nhiều trong các dung môi hữu cơ.
  • B.
    nhiệt độ nóng chảy, nhiệt độ sôi thấp, tan nhiều trong nước và các dung môi hữu cơ. 
  • C.
    nhiệt độ nóng chảy, nhiệt độ sôi thấp, không tan hoặc ít tan trong nước, tan nhiều trong các dung môi hữu cơ.
  • D.
    nhiệt độ nóng chảy, nhiệt độ sôi thấp, không tan trong nước
Câu 9 :

Cho hỗn hợp các chất lỏng: ethanol sôi ở 78,50C, nước cất sôi ở 1000C và acetic acid sôi ở 1180C. Có thết tách riêng các chất bằng cách nào?

  • A.
    Kết tinh
  • B.
    Chiết
  • C.
    Thăng hoa  
  • D.
    Chưng cất
Câu 10 :

Nước ép mía là dung dịch chưa bão hòa với thành phần chất tan chủ yếu là đường (còn gọi là đường kính, saccharose). Cần sử dụng phương pháp nào để thu được đường kính từ nước mía?

  • A.
    Phương pháp kết tinh và phương pháp lọc
  • B.
    Phương pháp chưng cất và phương pháp lọc
  • C.
    Phương pháp chiết và phương pháp lọc
  • D.
    Phương pháp chưng cất và phương pháp kết tinh
Câu 11 :

Phương pháp chiết được dùng để tách chất trong hỗn hợp nào sau đây?

  • A.
    Nước và dầu ăn
  • B.
    Bột mì và nước
  • C.
    Cát và nước
  • D.
    Nước và rượu
Câu 12 :

Để tách benzene (nhiệt độ sôi là 80 °C) và acetic acid (nhiệt độ sôi là 118 °C) ra khỏi nhau, có thể dùng phương pháp

  • A.
    chưng cất ở áp suất thấp.
  • B.
    chưng cất ở áp suất thường. 
  • C.
    chiết bằng dung môi hexane.
  • D.
    chiết bằng dung môi ethanol.
Câu 13 :

Hydrocarbon X có phần trăm khối lượng của carbon là 85,71%. Công thức phân tử của X là

  • A.
    C2H6
  • B.
    C4H10
  • C.
    C5H12
  • D.

    C3H6

     

Câu 14 :

CFC (chlorofluorocarbon) là kí hiệu chung chỉ nhóm các hợp chất hữu cơ mà trong phân tử có chứa ba loại nguyên tố Cl, F và C. Ưu điểm của chúng là rất bền, không cháy, không mùi, không độc, không gây ra sự ăn mòn, dễ bay hơi,… nên được dùng làm chất sinh hàn trong tủ lạnh, điều hoà không khí, dùng trong các bình xịt để tạo bọt xốp,….Tuy nhiên, do có nhược điểm lớn là phá huỷ tầng ozone bảo vệ Trái Đất nên từ những năm 1990, CFC bị hạn chế sử dụng theo các quy định của các công ước về bảo vệ môi trường và chống biến đổi khí hậu. Freon-12 là một loại chất CFC được sử dụng khá phổ biến, có chứa 31,40% fluorine và 58,68% chlorine về khối lượng. Công thức phân tử của freon-12 là

  • A.
    CCl3F.                                                         
  • B.
    CCl2F2.
  • C.
    CClF3.                                                        
  • D.
    C2Cl4F2.
Câu 15 :

Công thức phân tử của chất X có công thức cấu tạo như sau:

  • A.
    C4H10O
  • B.
    C3H6O
  • C.
    C4H8O
  • D.
    C5H11O
Câu 16 :

Cặp chất nào có thể là đồng đẳng kế tiếp của nhau?

  • A.
    C2H6O; C4H10O
  • B.
    C2H6O; C3H6O
  • C.
    CH3OH; C2H6O2
  • D.
    CH4O; C2H6O
Câu 17 :

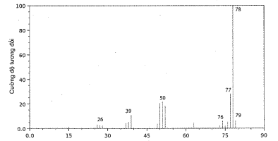
Hình sau đây là phổ khối lượng của phân tử benzene.

Phân tử khối của benzene bằng

  • A.
    76.
  • B.
    77.
  • C.
    78.
  • D.
    79.
Câu 18 :

Để viết được cấu tạo hoá học của một chất cần biết những yếu tố nào sau đây?

(a) Thành phần phân tử của chất.

(b) Hoá trị của các nguyên tố có trong phân tử chất.

(c) Trật tự liên kết của các nguyên tử trong phân tử chất.

(d) Nhiệt độ sôi của chất.

  • A.
    4   
  • B.
    2  
  • C.
    3  
  • D.
    1
Câu 19 :

Nhận xét nào sau đây là đúng về hai công thức cấu tạo CH3CH2CH(CH3)2 và CH3CH2CH2CH2CH3?

  • A.
    Biểu diễn cấu tạo hoá học của cùng một chất.
  • B.
    Biểu diễn cấu tạo hoá học của hai chất đồng phân về vị trí nhóm chức
  • C.
    Biểu diễn cấu tạo hoá học của hai chất thuộc cùng dãy đồng đẳng.
  • D.
    Biểu diễn cấu tạo hoá học của hai chất đồng phân về mạch carbon.
Câu 20 :

Liên kết hoá học trong hợp chất hữu cơ thường là 

  • A.
    liên kết cộng hoá trị.
  • B.
    liên kết kim loại.
  • C.
    liên kết hydrogen.
  • D.
    liên kết ion.
II. Tự luận
Câu 1 :

(2 điểm): Một mẫu hoa hòe được xác định có hàm lượng rutin là 26%. Người ta đun sôi hoa hòe với nước (100 oC) để chiết lấy rutin. Biết độ tan của rutin là 5,2 gam trong 1 lít nước ở 100 oC và là 0,125 gam trong 1 lít nước ở 25 oC.

(a) Cần dùng thể tích nước tối thiểu là bao nhiêu để chiết được lượng rutin có trong 100 gam hoa hòe.

(b) Giả thiết rằng toàn bộ lượng rutin trong hoa hòe đã tan vào nước khi chiết. Làm nguội dung dịch chiết 100 gam hoa hòe trên từ 100 oC xuống 25 oC thì thu được bao nhiêu gam rutin kết tinh.

(c) Vì sao khi sử dụng lượng nước lớn hơn thì khối lượng rutin thu được khi kết tinh lại giảm đi?

Câu 2 :

(2 điểm): Một dung dịch X thu được bằng cách thêm 50,0 mL dung dịch HBr 0,05 M vào 150,0 mL dung dịch HI 0,1 M. Tính nồng độ H+ và pH của dung dịch X. Biết HBr và HI được coi là acid mạnh

Lời giải và đáp án

I. Trắc nghiệm
Chọn đáp án đúng
Câu 1 :

Tính chất nào sau đây không phải là tính chất vật lí của sulfur

  • A.
    Màu vàng ở điều kiện thường
  • B.
    Thể rắn ở điều kiện thường
  • C.
    Không tan trong benzen
  • D.
    Không tan trong nước

Đáp án : C

Phương pháp giải :

Dựa vào tính chất vật lí của sulfur

 

Lời giải chi tiết :

Sulfur hầu như không tan trong nước nhưng tan được trong benzen

Đáp án C

Câu 2 :

Phát biểu nào sau đây không đúng?

  • A.
    Lưu huỳnh là một nguyên tố phi kim, chỉ có tính oxi hóa
  • B.
    Khi tham gia phản ứng, lưu huỳnh thể hiện tính oxi hóa hoặc tính khử
  • C.
    Ở điều kiện thường, lưu huỳnh là chất rắn, màu vàng, không tan trong nước
  • D.
    Ở điều kiện thương, lưu huỳnh tồn tại dạng phân tử tám nguyên tử (S8)

Đáp án : A

Phương pháp giải :

Dựa vào tính chất của sulfur

 

Lời giải chi tiết :

Lưu huỳnh là một nguyên tố phi kim, thể hiện cả tính khử và tính oxi hóa

Đáp án A

Câu 3 :

Cho các phản ứng hóa học sau:

Số phản ứng trong đó S thể hiện tính khử là:

  • A.
    2
  • B.
    3
  • C.
    1
  • D.
    4

Đáp án : A

Phương pháp giải :

S thể hiện tính khử khi tăng số oxi hóa

 

Lời giải chi tiết :

(a); (c) sulfur thể hiện tính oxi hóa

Đáp án A

Câu 4 :

Sulfuric acid đặc thể hiện tính chất nào khi lấy nước từ hợp chất carbohydrate và khiến chúng hóa đen?

  • A.
    Tính acid
  • B.
    Tính base
  • C.
    Tính háo nước
  • D.
    Tính dễ tan

Đáp án : C

Phương pháp giải :

Sulfuric acid đặc có tính oxi hóa mạnh và tính háo nước

Lời giải chi tiết

Đáp án C

Câu 5 :

Hóa học hữu cơ nghiên cứu

  • A.
    Tất cả những hợp chất trong thành phần có chứa carbon
  • B.
    Đa số các hợp chất của carbon và dẫn xuất của chúng
  • C.
    Các hợp chất trong thành phần của cơ thể sống
  • D.
    Phản ứng hóa học xảy ra trong cơ thể

Đáp án : B

Phương pháp giải :

Dựa vào khái niệm của hóa học hữu cơ

Lời giải chi tiết :

Hóa học hữu cơ nghiên cứu đa số các hợp chất của carbon và dẫn xuất của chúng

Đáp án B

Câu 6 :

Trong các hợp chất sau: C2H4, C2H5COOH, CaC2, CO, C2H5OH, C3H7Cl. Dãy gồm các chất hữu cơ là:

  • A.
    C2H4, CaC2, C2H5OH, C3H7Cl
  • B.
    C2H4, C2H5COOH, C2H5OH, C3H7Cl
  • C.
    CaC2, CO, C3H7Cl, C2H4
  • D.
    C2H4, C2H5COOH, CaC2, CO

Đáp án : B

Phương pháp giải :

Các hợp chất hữu cơ là các hợp chất của carbon trừ CO2, CO, muối CO32-, CN-, HCO3,…

Lời giải chi tiết :

Đáp án B

Câu 7 :

Trên phổ hồng ngoại của hợp chất hữu cơ X có các hấp thụ đặc trưng ở 2 817 cm−1 và 1 731 cm−1. Chất X là chất nào trong các chất dưới đây?

  • A.
    CH3C(O)CH2CH3.           
  • B.
    CH2=CHCH2CH2OH.
  • C.
    CH3CH2CH2CHO.          
  • D.
    CH3CH=CHCH2OH.

Đáp án : C

Phương pháp giải :

Dựa vào số sóng hấp thụ có thể xác định được nhóm chức của HCHC.

Lời giải chi tiết :

Các hấp thụ đặc trưng ở 2 817 cm−1 và 1 731 cm−1 chứng tỏ trong X có nhóm chức COOH hoặc CHO. Đáp án C.

Câu 8 :

Các hợp chất hữu cơ thường có

  • A.
    nhiệt độ nóng chảy, nhiệt độ sôi cao, không tan hoặc ít tan trong nước, tan nhiều trong các dung môi hữu cơ.
  • B.
    nhiệt độ nóng chảy, nhiệt độ sôi thấp, tan nhiều trong nước và các dung môi hữu cơ. 
  • C.
    nhiệt độ nóng chảy, nhiệt độ sôi thấp, không tan hoặc ít tan trong nước, tan nhiều trong các dung môi hữu cơ.
  • D.
    nhiệt độ nóng chảy, nhiệt độ sôi thấp, không tan trong nước

Đáp án : C

Phương pháp giải :

Các hợp chất hữu cơ thường có nhiệt độ sôi và nhiệt độ nóng chảy thấp. 

Các hợp chất hữu cơ tan ít (hoặc không tan) trong nước và tan nhiều trong các dung môi hữu cơ.

Lời giải chi tiết :

Các hợp chất hữu cơ thường có nhiệt độ nóng chảy, nhiệt độ sôi thấp, không tan hoặc ít tan trong nước, tan nhiều trong các dung môi hữu cơ.

→ Chọn C.

Câu 9 :

Cho hỗn hợp các chất lỏng: ethanol sôi ở 78,50C, nước cất sôi ở 1000C và acetic acid sôi ở 1180C. Có thết tách riêng các chất bằng cách nào?

  • A.
    Kết tinh
  • B.
    Chiết
  • C.
    Thăng hoa  
  • D.
    Chưng cất

Đáp án : C

Phương pháp giải :

Dựa vào nhiệt độ sôi khác nhau của các chất lỏng

Lời giải chi tiết :

Ethanol và nước có nhiệt độ sôi khác nhau nên có thể sử dụng phương pháp chưng cất để tách riêng các chất

Đáp án D

Câu 10 :

Nước ép mía là dung dịch chưa bão hòa với thành phần chất tan chủ yếu là đường (còn gọi là đường kính, saccharose). Cần sử dụng phương pháp nào để thu được đường kính từ nước mía?

  • A.
    Phương pháp kết tinh và phương pháp lọc
  • B.
    Phương pháp chưng cất và phương pháp lọc
  • C.
    Phương pháp chiết và phương pháp lọc
  • D.
    Phương pháp chưng cất và phương pháp kết tinh

Đáp án : D

Phương pháp giải :

Dựa vào kiến thức về phương pháp tách biệt và tinh chế hợp chất hữu cơ

Lời giải chi tiết :

Có thể sử dụng phương pháp chưng và phương pháp kết tinh để tách đường kính từ nước mía

Đáp án D

Câu 11 :

Phương pháp chiết được dùng để tách chất trong hỗn hợp nào sau đây?

  • A.
    Nước và dầu ăn
  • B.
    Bột mì và nước
  • C.
    Cát và nước
  • D.
    Nước và rượu

Đáp án : A

Phương pháp giải :

Chiết là phương pháp tách và tinh chế các chất từ hỗn hợp dựa trên độ hòa tan khác nhau của các chất đó trong hai môi trường không hòa tan vào nhau

Lời giải chi tiết :

Phương pháp chiết được dùng để tách chất trong hỗn hợp nước và dầu ăn

Phương pháp lọc được dùng để tách chất trong hỗn hợp bột mì và nước, cát và nước

Phương pháp chưng chất được dùng để tách chất trong hỗn hợp nước và rượu

Chọn A

Câu 12 :

Để tách benzene (nhiệt độ sôi là 80 °C) và acetic acid (nhiệt độ sôi là 118 °C) ra khỏi nhau, có thể dùng phương pháp

  • A.
    chưng cất ở áp suất thấp.
  • B.
    chưng cất ở áp suất thường. 
  • C.
    chiết bằng dung môi hexane.
  • D.
    chiết bằng dung môi ethanol.

Đáp án : A

Phương pháp giải :

Phương pháp chưng cất:

– Nguyên tắc: Chưng cất là phương pháp tách và tinh chế chất lỏng dựa trên sự khác nhau về nhiệt độ sôi của các chất trong hỗn hợp ở áp suất nhất định.

– Cách tiến hành: Đun nóng hỗn hợp chất lỏng, chất nào có nhiệt độ sôi thấp hơn sẽ chuyển thành hơi sớm hơn và nhiều hơn. Sau đó làm lạnh, hơi ngưng tụ thành dạng lỏng chứa chủ yếu chất có nhiệt độ sôi thấp hơn.

Lời giải chi tiết :

Để tách benzene (nhiệt độ sôi là 80 °C) và acetic acid (nhiệt độ sôi là 118 °C) ra khỏi nhau, có thể dùng phương pháp chưng cất ở áp suất thấp vì:

+ Benzene và acetic acid là những chất lỏng có nhiệt độ sôi khác nhau.

+ Benzene và acetic acid là những chất dễ bị phân hủy ở nhiệt độ cao, do đó ta cần thực hiện chưng cất ở áp suất thấp.

Chọn A.

Câu 13 :

Hydrocarbon X có phần trăm khối lượng của carbon là 85,71%. Công thức phân tử của X là

  • A.
    C2H6
  • B.
    C4H10
  • C.
    C5H12
  • D.

    C3H6

     

Đáp án : D

Phương pháp giải :

Phương pháp giảiDựa vào phần trăm khối lượng của carbon để xác định công thức phân tử X

 

Lời giải chi tiết :

\(\begin{array}{l}\% H = 100\%  – 85,17\%  = 14,83\% \\C:H = \frac{{\% C}}{{12}}:\frac{{\% H}}{1} = \frac{{85,17}}{{12}}:\frac{{14,83}}{1} = 7:14 = 1:2\end{array}\)CTDGN: (CH2)n => Với n = 3 => CTPT: C3H6

Đáp án D

Câu 14 :

CFC (chlorofluorocarbon) là kí hiệu chung chỉ nhóm các hợp chất hữu cơ mà trong phân tử có chứa ba loại nguyên tố Cl, F và C. Ưu điểm của chúng là rất bền, không cháy, không mùi, không độc, không gây ra sự ăn mòn, dễ bay hơi,… nên được dùng làm chất sinh hàn trong tủ lạnh, điều hoà không khí, dùng trong các bình xịt để tạo bọt xốp,….Tuy nhiên, do có nhược điểm lớn là phá huỷ tầng ozone bảo vệ Trái Đất nên từ những năm 1990, CFC bị hạn chế sử dụng theo các quy định của các công ước về bảo vệ môi trường và chống biến đổi khí hậu. Freon-12 là một loại chất CFC được sử dụng khá phổ biến, có chứa 31,40% fluorine và 58,68% chlorine về khối lượng. Công thức phân tử của freon-12 là

  • A.
    CCl3F.                                                         
  • B.
    CCl2F2.
  • C.
    CClF3.                                                        
  • D.
    C2Cl4F2.

Đáp án : B

Phương pháp giải :

Dựa vào phần trăm nguyên tố của hợp chất để tìm được công thức thực nghiệm của chất đó.

Lời giải chi tiết :

%C = 100% – 31,40% – 58,68% = 9,92%

Gọi công thức phân tử của freon-12 là CxClyFz.

Ta có x : y : z = \(\frac{{\% C}}{{12}}:\frac{{\% Cl}}{{35,5}}:\frac{{\% F}}{{19}} = 1:2:2\)

→ Công thức đơn giản nhất: (CCl2F2)n

→ Công thức phân tử của freon-12 là: CCl2F2. Đáp án B

Câu 15 :

Công thức phân tử của chất X có công thức cấu tạo như sau:

  • A.
    C4H10O
  • B.
    C3H6O
  • C.
    C4H8O
  • D.
    C5H11O

Đáp án : D

Phương pháp giải :

Dựa vào khung phân tử của hợp chất X

Lời giải chi tiết :

Hợp chất X có 5C => Đáp án D

Câu 16 :

Cặp chất nào có thể là đồng đẳng kế tiếp của nhau?

  • A.
    C2H6O; C4H10O
  • B.
    C2H6O; C3H6O
  • C.
    CH3OH; C2H6O2
  • D.
    CH4O; C2H6O

Đáp án : A

Phương pháp giải :

Đồng đẳng là các hợp chất hơn kém nhau một hay nhiều nhóm CH2 và có tính chất hóa học tương tự nhau

Lời giải chi tiết :

Đáp án A

Câu 17 :

Hình sau đây là phổ khối lượng của phân tử benzene.

Phân tử khối của benzene bằng

  • A.
    76.
  • B.
    77.
  • C.
    78.
  • D.
    79.

Đáp án : C

Phương pháp giải :

Trong phương pháp phổ khối lượng, đối với các hợp chất đơn giản, thường mảnh có giá trị m/z lớn nhất ứng với mảnh ion phân tử [M+] và giá trị này bằng giá trị phân tử khối của chất nghiên cứu.

Lời giải chi tiết :

Dựa vào phổ khối lượng của phân tử benzene, ta thấy giá trị m/z lớn nhất ứng với mảnh ion phân tử [M+] là 60, do đó phân tử khối của benzene bằng 78.

→ Chọn C.

Câu 18 :

Để viết được cấu tạo hoá học của một chất cần biết những yếu tố nào sau đây?

(a) Thành phần phân tử của chất.

(b) Hoá trị của các nguyên tố có trong phân tử chất.

(c) Trật tự liên kết của các nguyên tử trong phân tử chất.

(d) Nhiệt độ sôi của chất.

  • A.
    4   
  • B.
    2  
  • C.
    3  
  • D.
    1

Đáp án : C

Phương pháp giải :

Công thức cấu tạo của hợp chất hữu cơ cho biết cách thức liên kết giữa các nguyên tử trong phân tử.

Lời giải chi tiết :

a) Đúng.

b) Đúng.

c) Đúng.

d) Sai.

Đáp án C

Câu 19 :

Nhận xét nào sau đây là đúng về hai công thức cấu tạo CH3CH2CH(CH3)2 và CH3CH2CH2CH2CH3?

  • A.
    Biểu diễn cấu tạo hoá học của cùng một chất.
  • B.
    Biểu diễn cấu tạo hoá học của hai chất đồng phân về vị trí nhóm chức
  • C.
    Biểu diễn cấu tạo hoá học của hai chất thuộc cùng dãy đồng đẳng.
  • D.
    Biểu diễn cấu tạo hoá học của hai chất đồng phân về mạch carbon.

Đáp án : D

Phương pháp giải :

Công thức cấu tạo của hợp chất hữu cơ cho biết cách thức liên kết giữa các nguyên tử trong phân tử.

Lời giải chi tiết :

2 chất trên có cùng công thức phân tử nhưng khác công thức cấu tạo.

Đáp án D.

Câu 20 :

Liên kết hoá học trong hợp chất hữu cơ thường là 

  • A.
    liên kết cộng hoá trị.
  • B.
    liên kết kim loại.
  • C.
    liên kết hydrogen.
  • D.
    liên kết ion.

Đáp án : A

Phương pháp giải :

Dựa vào thuyết cấu tạo của hợp chất hữu cơ

Lời giải chi tiết :

Trong công thức cấu tạo của hợp chất hữu cơ chứa các liên kết cộng hóa trị

Đáp án A

II. Tự luận
Câu 1 :

(2 điểm): Một mẫu hoa hòe được xác định có hàm lượng rutin là 26%. Người ta đun sôi hoa hòe với nước (100 oC) để chiết lấy rutin. Biết độ tan của rutin là 5,2 gam trong 1 lít nước ở 100 oC và là 0,125 gam trong 1 lít nước ở 25 oC.

(a) Cần dùng thể tích nước tối thiểu là bao nhiêu để chiết được lượng rutin có trong 100 gam hoa hòe.

(b) Giả thiết rằng toàn bộ lượng rutin trong hoa hòe đã tan vào nước khi chiết. Làm nguội dung dịch chiết 100 gam hoa hòe trên từ 100 oC xuống 25 oC thì thu được bao nhiêu gam rutin kết tinh.

(c) Vì sao khi sử dụng lượng nước lớn hơn thì khối lượng rutin thu được khi kết tinh lại giảm đi?

Lời giải chi tiết :

(a) 100 gam hoa hòe chứa 26 gam rutin.

Thể tích nước cần dùng để hòa tan hết lượng rutin ở 100 oC là \(\frac{{26.1}}{{52}} = 5\) lít.

(b) 5 lít nước ở 25 oC chứa 5.0,125 = 0,625 gam rutin.

Lượng rutin thu được khi để kết tinh là 26 – 0,625 = 25,375 gam.

(c) Khi tăng lượng nước, lượng rutin hòa tan trong dung dịch ở 25 oC tăng lên nên lượng rutin kết tinh bị giảm đi.

Câu 2 :

(2 điểm): Một dung dịch X thu được bằng cách thêm 50,0 mL dung dịch HBr 0,05 M vào 150,0 mL dung dịch HI 0,1 M. Tính nồng độ H+ và pH của dung dịch X. Biết HBr và HI được coi là acid mạnh

Lời giải chi tiết :

Số mol H+ trong 50mL HBr là 0,05.0,050 = 2,5.10-3 (mol).

Số mol H+ trong 150mL HI là 0,15.0,100 = 1,5.10-2 (mol).

Nồng độ H+ của dung dịch X là:

\([{{\rm{H}}^ + }] = \frac{{2,{{5.10}^{ – 3}} + 1,{{5.10}^{ – 2}}}}{{0,05 + 0,15}} = 0,0875({\rm{M}});{\rm{pH =  – lg(0,0875) = 1,06}}{\rm{.}}\)

 

TẢI APP ĐỂ XEM OFFLINE