2. Bài 2: Lăng trụ đứng tam giác. Lăng trụ đứng tứ giác

Đề bài

Câu 1 :

Các mặt bên của hình lăng trụ đứng là

  • A.

    Các hình bình hành

  • B.

    Các hình thang cân   

  • C.

    Các hình chữ nhật     

  • D.

    Các hình vuông

Câu 2 :

Các cạnh bên của hình lăng trụ đứng

  • A.

    Song song với nhau

  • B.

    Bằng nhau

  • C.

    Vuông góc với hai đáy

  • D.

    Có cả ba tính chất trên

Câu 3 :

Cho hình lăng trụ đứng $ABCD.A’B’C’D’$ có đáy $ABCD$ là hình thang vuông \(\left( {\widehat A = \widehat B = {{90}^0}} \right)\) . 

Câu 3.1

Có bao nhiêu cạnh song song với mặt phẳng \(\left( {BCC’B’} \right)\) ?

  • A

    \(1\) 

  • B

    \(2\)

  • C

    \(4\)

  • D

    \(5\)

Câu 3.2

Có bao nhiêu cạnh vuông góc  với mặt phẳng \(\left( {BCC’B’} \right)\) ?

  • A

    \(1\) 

  • B

    \(2\)

  • C

    \(4\)

  • D

    \(5\)

Câu 4 :

Một hình hộp chữ nhật có diện tích xung quanh bằng tổng diện tích hai đáy, chiều cao bằng $6\,cm$ . Một kích thước của đáy bằng $10\,cm$ , tính kích thước còn lại.

  • A.

    \(15\,cm\) 

  • B.

    \(20\,cm\)

  • C.

    \(25\,cm\)

  • D.

    \(10\,cm\)

Câu 5 :

Một hình hộp chữ nhật có diện tích xung quanh bằng $120\,c{m^2}$ , chiều cao bằng $6cm$ . Tìm các kích thước của đáy để hình hộp chữ nhật có thể tích lớn nhất.

  • A.

    \(8\,cm\) 

  • B.

    \(7\,cm\)

  • C.

    \(6\,cm\)

  • D.

    \(5\,cm\)

Câu 6 :

Tính thể tích của hình lăng trụ đứng có chiều cao $20\,{\rm{cm}}$, đáy là một tam giác vuông có các cạnh góc vuông bằng $8\,{\rm{cm}}$ và $10\,{\rm{cm}}$.

  • A.

    \(800\,c{m^3}\) 

  • B.

    \(400\,c{m^3}\)

  • C.

    \(600\,c{m^3}\)

  • D.

    \(500\,c{m^3}\)

Câu 7 :

Cho một hình lăng trụ đứng có diện tích đáy là $S$ , chiều cao là $h$ . Hỏi công thức tính thể tích hình lăng trụ đứng là gì?

  • A.

    $S.h\;\;\;\;\;\;$                       

  • B.

    \(\dfrac{1}{2}S.h\)     

  • C.

    $2S.h$            

  • D.

    $3S.h$

Câu 8 :

Tính thể tích của hình lăng trụ đứng sau:

  • A.

    \(16\;c{m^3}\)

  • B.

    \(20\;c{m^3}\)

  • C.

    \(26\;c{m^3}\)

  • D.

    \(22\;c{m^3}\)

Câu 9 :

Một lăng trụ đứng có đáy là hình chữ nhật có các kích thức $3$  cm, $8$  cm. Chiều cao của hình lăng trụ đứng là $2$cm. Tính diện tích xung quanh và thể tích của hình lăng trụ đứng.

  • A.

    \(48\;c{m^2},\;46\;c{m^3}\) 

  • B.

    \(48\;c{m^2},\;44\;c{m^3}\)

  • C.

    \(46\;c{m^2},\;48\;c{m^3}\) 

  • D.

    \(44\;c{m^2},\;48\;c{m^3}\)

Lời giải và đáp án

Câu 1 :

Các mặt bên của hình lăng trụ đứng là

  • A.

    Các hình bình hành

  • B.

    Các hình thang cân   

  • C.

    Các hình chữ nhật     

  • D.

    Các hình vuông

Đáp án : C

Lời giải chi tiết :

Hình lăng trụ đứng có hai đáy là những đa giác, các mặt bên là những hình chữ nhật.

Câu 2 :

Các cạnh bên của hình lăng trụ đứng

  • A.

    Song song với nhau

  • B.

    Bằng nhau

  • C.

    Vuông góc với hai đáy

  • D.

    Có cả ba tính chất trên

Đáp án : D

Lời giải chi tiết :

Hình lăng trụ đứng có các mặt bên là hình chữ nhật, các cạnh bên vuông góc với đáy nên chúng song song và bằng nhau.

Câu 3 :

Cho hình lăng trụ đứng $ABCD.A’B’C’D’$ có đáy $ABCD$ là hình thang vuông \(\left( {\widehat A = \widehat B = {{90}^0}} \right)\) . 

Câu 3.1

Có bao nhiêu cạnh song song với mặt phẳng \(\left( {BCC’B’} \right)\) ?

  • A

    \(1\) 

  • B

    \(2\)

  • C

    \(4\)

  • D

    \(5\)

Đáp án: C

Phương pháp giải :

Sử dụng quan hệ song song giữa đường thẳng và mặt phẳng.

Lời giải chi tiết :

Vì $AA'{\rm{//}}BB'{\rm{//}}DD’$ và \(A’D'{\rm{//}}AD{\rm{//}}BC\) nên các đường thẳng $AA’,DD’,AD,A’D’$ song song với mp $\left( {BCC’B’} \right).$

Câu 3.2

Có bao nhiêu cạnh vuông góc  với mặt phẳng \(\left( {BCC’B’} \right)\) ?

  • A

    \(1\) 

  • B

    \(2\)

  • C

    \(4\)

  • D

    \(5\)

Đáp án: B

Phương pháp giải :

Sử dụng quan hệ vuông góc giữa đường thẳng và mặt phẳng.

Lời giải chi tiết :

 Vì \(AB \bot BC\) (do \(ABCD\) là hình thang vuông) và \(AB \bot BB’\) (tính chất lăng trụ đứng)

Nên \(AB \bot \left( {BCC’B’} \right)\) , tương tự ta có \(A’B’ \bot \left( {BCC’B’} \right)\)

Do đó $AB,A’B’$ vuông góc với mp $\left( {BCC’B’} \right).$

Câu 4 :

Một hình hộp chữ nhật có diện tích xung quanh bằng tổng diện tích hai đáy, chiều cao bằng $6\,cm$ . Một kích thước của đáy bằng $10\,cm$ , tính kích thước còn lại.

  • A.

    \(15\,cm\) 

  • B.

    \(20\,cm\)

  • C.

    \(25\,cm\)

  • D.

    \(10\,cm\)

Đáp án : A

Lời giải chi tiết :

Đặt $AD = x$ .

Diện tích xung quanh bằng:

$2\left( {10 + x} \right).6\left( {c{m^2}} \right)$

Tổng diện tích hai đáy bằng  $2.10x\left( {c{m^2}} \right)$

Ta có $2\left( {10 + x} \right).6{\rm{ }} = {\rm{ }}2.10x \Leftrightarrow 60 + 6x = 10x \Leftrightarrow x = 15$

Kích thước còn lại của đáy bằng $15cm$ .

Câu 5 :

Một hình hộp chữ nhật có diện tích xung quanh bằng $120\,c{m^2}$ , chiều cao bằng $6cm$ . Tìm các kích thước của đáy để hình hộp chữ nhật có thể tích lớn nhất.

  • A.

    \(8\,cm\) 

  • B.

    \(7\,cm\)

  • C.

    \(6\,cm\)

  • D.

    \(5\,cm\)

Đáp án : D

Phương pháp giải :

+ Sử dụng công thức thể tích và diện tích xung quanh của hình hộp chữ nhật.

+ Dùng hằng đẳng thức để biện luận theo yêu cầu đề bài.

Lời giải chi tiết :

Gọi $a$  và $b$  là các kích thước của đáy.

Ta có $V = 6ab$ nên $V$  lớn nhất \( \Leftrightarrow \) $ab$  lớn nhất

\({S_{xq}} = 120\) nên \(2\left( {a + b} \right).6 = 120\) hay \(a + b = 10\).

Ta có: \(ab = a\left( {10 – a} \right) =  – {a^2} + 10a =  – {\left( {a – 5} \right)^2} + 25 \le 25\).

Suy ra \(V = 6ab \le 6.25 = 150\).

Thể tích lớn nhất bằng \(150\) \({\rm{c}}{{\rm{m}}^3}\) khi \(a = b = 5\), tức là các cạnh đáy bằng $5$ cm.

Câu 6 :

Tính thể tích của hình lăng trụ đứng có chiều cao $20\,{\rm{cm}}$, đáy là một tam giác vuông có các cạnh góc vuông bằng $8\,{\rm{cm}}$ và $10\,{\rm{cm}}$.

  • A.

    \(800\,c{m^3}\) 

  • B.

    \(400\,c{m^3}\)

  • C.

    \(600\,c{m^3}\)

  • D.

    \(500\,c{m^3}\)

Đáp án : A

Phương pháp giải :

Sử dụng công thức tính thể tích hình lăng trụ đứng \(V = S.h\) với \(S\) là diện tích đáy, \(h\) là chiều cao.

Lời giải chi tiết :

Vì đáy là tam giác vuông nên diện tích đáy \(S = \dfrac{{8.10}}{2} = 40\,cm\) .

Thể tích lăng trụ đứng là \(V = S.h = 40.20 = 800\,c{m^3}\) .

Câu 7 :

Cho một hình lăng trụ đứng có diện tích đáy là $S$ , chiều cao là $h$ . Hỏi công thức tính thể tích hình lăng trụ đứng là gì?

  • A.

    $S.h\;\;\;\;\;\;$                       

  • B.

    \(\dfrac{1}{2}S.h\)     

  • C.

    $2S.h$            

  • D.

    $3S.h$

Đáp án : A

Lời giải chi tiết :

Công thức tính thể tích hình lăng trụ đứng là: $V = S.h$

Câu 8 :

Tính thể tích của hình lăng trụ đứng sau:

  • A.

    \(16\;c{m^3}\)

  • B.

    \(20\;c{m^3}\)

  • C.

    \(26\;c{m^3}\)

  • D.

    \(22\;c{m^3}\)

Đáp án : D

Phương pháp giải :

– Chia hình lăng trụ đứng thành các hình hộp chữ nhật nhỏ hơn, sau đó tính thể tích từng hình hộp chữ nhật nhỏ.

– Tính được thể tích lăng trụ đứng bằng tổng thể tích các hình hộp chữ nhật nhỏ

Lời giải chi tiết :

Hình lăng trụ đứng đã cho được tạo thành từ 2 hình hộp chữ nhật. Hình hộp chữ nhật thứ nhất có kích thước là

\(3cm,\;\;1cm,\;\;2cm;\)  hình hộp chữ nhật thứ hai có kích thước là \(2cm,\;\;4cm,\;\;2cm.\)

Thể tích hình hộp chữ nhật thứ nhất là:   \({V_1} = 3.1.2 = 6\;c{m^3}\)

Thể tích hình hộp chữ nhật thứ hai là:  \({V_2} = 2.4.2 = 16\;c{m^3}\)

Thể tích hình lăng trụ đứng là:  \(V = {V_1} + {V_2} = 6 + 16 = 22\;c{m^3}\)

Câu 9 :

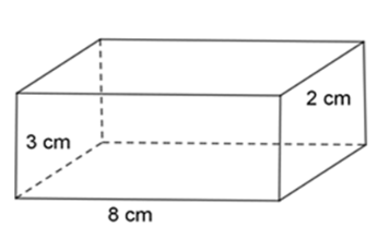
Một lăng trụ đứng có đáy là hình chữ nhật có các kích thức $3$  cm, $8$  cm. Chiều cao của hình lăng trụ đứng là $2$cm. Tính diện tích xung quanh và thể tích của hình lăng trụ đứng.

  • A.

    \(48\;c{m^2},\;46\;c{m^3}\) 

  • B.

    \(48\;c{m^2},\;44\;c{m^3}\)

  • C.

    \(46\;c{m^2},\;48\;c{m^3}\) 

  • D.

    \(44\;c{m^2},\;48\;c{m^3}\)

Đáp án : D

Phương pháp giải :

– Áp dụng công thức tính diện tích xung quanh hình lăng trụ đứng và thể tích hình lăng trụ đứng để giải bài toán: \({S_{xq}} = 2\left( {a + b} \right)c,\;\;V = abc.\)

Lời giải chi tiết :

Diện tích xung quanh \({S_{xq}} = 2.(8 + 3).2 = 44\;c{m^2}\)

Thể tích của hình lăng trụ đứng là:\(V = 8.3.2 = 48\;c{m^3}\)

TẢI APP ĐỂ XEM OFFLINE