17. Bài 37: Tại sao có gió? trang 52

Giải câu 1, 2, 3 Bài 37: Tại sao có gió? trang 52, 53 VBT Khoa học 4. Câu 3: Viết chữ Đ vào ô tróng trước câu đúng, chữ S vào ô trống trước câu sai

Lựa chọn câu để xem lời giải nhanh hơn

Câu 1

Nối ô chữ ở cột A với ô chữ ở cột B cho phù hợp


Lời giải chi tiết:

1 – c

2 – b

3 – a

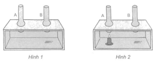
Câu 2

a) Đặt một vài mẩu hương cháy đã tắt lửa nhưng còn bốc khói vào dưới ống B. Quan sát hình 1 và dự đoán xem khói hương bay ra qua ống nào. Hãy vẽ đường bay của khói hương vào hình 1.

b) Ngoài vài mẩu hưởng ở ống B như hình 1, đặt thêm một cây nến đang cháy dưới ống A. Quan sát hình 2 và dự đoán khói hương bay ra qua ống nào. Hãy vẽ đường bay của ống khói hương vào hình 2.

c) Vì sao bạn lại dự đoán như vậy?

Lời giải chi tiết:

a) Khói hương bay ra qua ống B.

b) Khói hương bay ra từ ống A.

c) Do không khí chuyển động từ nơi lạnh đến nơi nóng, nên khói hương chuyển động sang ống A đang nóng hơn

Câu 3

Viết chữ Đ vào ô trống trước câu trả lời đúng, chữ S vào ô trống trước câu trả lời sai.

 

Ban ngày, dưới ánh sáng mặt trời, phần đất liền nóng nhanh hơn phần biển. Do đó, không khí ở phần biển sẽ lạnh hơn không khí ở phần đất liền. Không khí chuyển động từ nơi lạnh đến nơi nóng và tạo thành gió từ biển thổi vào đất liền

 

Ban ngày, dưới ánh sáng mặt trời, phần đất liền nóng nhanh hơn phần biển. Do đó, không khí ở phần biển sẽ lạnh hơn không khí ở phần đất liền. Không khí chuyển động từ nơi nóng đến nơi lạnh và tạo thành gió từ đất liền thổi ra biển.

 

Ban đêm, phần đất liền nguội đi nhanh hơn phần biển. Do đó, không khí ở phần đất liền sẽ lạnh hơn không khí ở phần biển. Không khí chuyển động từ nơi lạnh đến nơi nóng và tạo thành gió từ đất liền thổi ra biển.


Lời giải chi tiết:

Đ

Ban ngày, dưới ánh sáng mặt trời, phần đất liền nóng nhanh hơn phần biển. Do đó, không khí ở phần biển sẽ lạnh hơn không khí ở phần đất liền. Không khí chuyển động từ nơi lạnh đến nơi nóng và tạo thành gió từ biển thổi vào đất liền

S

Ban ngày, dưới ánh sáng mặt trời, phần đất liền nóng nhanh hơn phần biển. Do đó, không khí ở phần biển sẽ lạnh hơn không khí ở phần đất liền. Không khí chuyển động từ nơi nóng đến nơi lạnh và tạo thành gió từ đất liền thổi ra biển.

Đ

Ban đêm, phần đất liền nguội đi nhanh hơn phần biển. Do đó, không khí ở phần đất liền sẽ lạnh hơn không khí ở phần biển. Không khí chuyển động từ nơi lạnh đến nơi nóng và tạo thành gió từ đất liền thổi ra biển.

Xem lại lí thuyết tại đây:

Webgiaibaitap.com

Các bài khác cùng chuyên mục

TẢI APP ĐỂ XEM OFFLINE

PHẦN 2: VẬT CHẤT VÀ NĂNG LƯỢNG