Giải mục 2 trang 60 SGK Toán 7 tập 1 – Chân trời sáng tạo

Cho hình hộp chữ nhật với kích thước như Hình 3a. Hình hộp này được cắt đi một nửa để có hình lăng trụ đứng như ở Hình 3b

Video hướng dẫn giải

Lựa chọn câu để xem lời giải nhanh hơn

HĐ 2

Cho hình hộp chữ nhật với kích thước như Hình 3a. Hình hộp này được cắt đi một nửa để có hình lăng trụ đứng như ở Hình 3b

a) Tính thể tích của hình hộp chữ nhật.

b) Dự đoán thể tích của hình lăng trụ đứng tam giác dựa vào thể tích hình hộp chữ nhật ở câu a.

c) Gọi Sđáy là diện tích mặt đáy và h là chiều cao của hình lăng trụ tam giác. Hãy tính Sđáy . h

d) So sánh Sđáy . h và kết quả dự đoán ở câu b.

Phương pháp giải:

Thể tích của hình hộp chữ nhật có chiều dài đáy a, chiều rộng b, chiều cao c là: V = a.b.c

Diện tích hình chữ nhật có chiều dài a, chiều rộng b là: S = a.b

Lời giải chi tiết:

a) Thể tích của hình hộp chữ nhật là: V = 4.3.6 = 72 (cm3)

b) Vì hình hộp cắt đi một nửa thì được hình lăng trụ đứng nên dự đoán thể tích của hình lăng trụ đứng tam giác bằng một nửa thể tích hình hộp chữ nhật ở câu a.

c) Sđáy = 4.3:2 = 6 (cm2)

Sđáy . h = 6.6 = 36 (cm3)

d) Sđáy . h = 36 = \(\frac {1}{2}\). 72 = \(\frac {1}{2}\).Vhình hộp

Vậy Sđáy . h và kết quả dự đoán ở câu b là như nhau.

TH 2

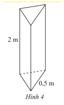
Tính diện tích xung quanh của một cột bê tông hình lăng trụ đứng có chiều cao 2 m và đáy là tam giác đều có cạnh 0,5 m (Hình 4).

Phương pháp giải:

Diện tích xung quanh lăng trụ đứng = chu vi đáy. chiều cao

Lời giải chi tiết:

Diện tích xung quanh của cột bê tông đó là:

Sxq = Cđáy . h = (0,5 + 0,5 +0,5). 2 = 3 (m2)

TH 3

Tính thể tích hình lăng trụ đứng tứ giác có đáy là hình thang với kích thước cho trong Hình 5

Phương pháp giải:

Thể tích hình lăng trụ là: V = Diện tích đáy . chiều cao

Diện tích hình thang có 2 đáy là a và b, chiều cao h là: S = (a+b).h : 2

Lời giải chi tiết:

Diện tích đáy của lăng trụ là:

Sđáy = (5+8).4:2 = 26 (cm2)

Thể tích hình lăng trụ đứng trong Hình 5 là:

V = Sđáy . h = 26 . 12 = 312 (cm3)

TẢI APP ĐỂ XEM OFFLINE

Toán 7 tập 1 – Chân trời sáng tạo

Toán 7 tập 2 – Chân trời sáng tạo